2022-08-12
加载中...
坚持党的领导、加强党的建设,是国有企业的光荣传统,是国有企业的“根”与“魂”。yd2333云顶电子游戏充分发挥企业党组织的领导核心和政治核心作用,结合建筑行业特点和工作实际,实施“支部建在项目上,引领高质量发展”工程,打通党建“最后一公里”,引领项目高质高效建设,促进企业高质量发展。本期推出项目党建系列报道之六《党建引领风帆劲 项目一线党旗红——广州职业技术院校迁建项目三通一平工程、市政三标项目建设按下“加速键”》。

▲广州职业技术院校迁建项目一期全景
yd2333云顶电子游戏属下市政集团二公司承建的广州职业技术院校迁建项目一期三通一平工程施工总承包项目(简称“三通一平”)、广州职业技术院校迁建项目一期道路交通及市政配套设施工程施工总承包项目(简称“市政三标”)是广州市“攻城拔寨”项目,位于增城区朱村街道科教城内,造价合计超9.5亿元。三通一平建设内容包括临时道路新建、16个地块的场地平整及桥涵等基础设施建设,涉及配套给水、雨水污水处理、管沟管线、电气照明等;市政三标主要包括新建道路7800千米,包含河道、环山水渠1830米,电力隧道882米等,基础设施的完成将为科教城后续建设打下坚实基础。
树起项目党建“风向标”
2021年10月,两个项目联合成立广州职业技术院校迁建项目三通一平、市政三标临时党支部,充分发挥“1+1>2”的作用,通力合作、相互协调。临时党支部通过召开党员大会“集中学”,微信群、学习强国等平台“线上学”,以读原著、学原文、悟原理的方式“深入学”,进一步提高项目党员思想理论水平。临时党支部经常就业务工作开展座谈会,讨论沟通疫情防控、复工复产、项目评优等问题,利用组织优势形成相互帮助、相互监督、共同进步的工作机制,不断提高工作质量和效率,努力打造一支政治过硬、能力突出的市政铁军。

▲临时党支部组织集中学习
打造攻坚克难“硬堡垒”
为确保项目实施范围内的广州幼儿师范高等专科学校如期投入使用,临时党支部勇挑重担,迅速划定党员责任区,合理穿插工序,调配8台挖掘机、6台铲车配合转运材料,全力确保资源供应,提高施工效率。项目党员充分发挥先锋模范带头作用,团结带领全体人员24小时轮班,抢工期、赶进度、保质量,确保施工难题“当日提出,次日解决”。5个党员责任区分工合作、齐头并进,仅用一周时间新建排水沟1200米、修复排水沟1200米,完成排水沟抹面约2000延米,基本完成6·29节点任务目标,按下项目建设“加速键”。

▲项目施工现场
织密安全生产“防护网”
临时党支部树牢“安全第一”的底线意识,全面深化安全文明建设,通过开展安全生产教育、安全生产样板工程观摩、事故应急救援演练、领导带班检查等,强化安全生产和法治宣传,促进安全生产工作规范化、标准化。此外,项目大力推广绿色施工技术,通过基坑降水重复利用、洗车沉淀池循环使用、水泵房自动加压供水及混凝土节水养护技术等方式减少施工对环境的影响。2022年6月,市政三标顺利通过省双优“安全文明示范工地”复评。

▲开展安全生产月活动
激发科技创新“动力源”
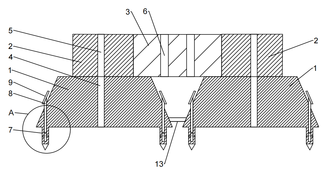
临时党支部以技术创新为导向,采取“党建引领、结对创新”模式,以“传帮带”的方式带领员工发散思维、积极创新。其中,项目团队自主研发的“一种用于铺设人行道的架空支座”技术获得国家专利,其混凝土架空砖独特的拼装式结构利用中国古代木榫结构原理,具有铺装更换快、透水效率强、持久且耐用、应对多变天气的特点,特别适合老城区的市政改造。此外,党支部还积极推进QC小组活动,“提高箱涵模板施工一次验收合格率”等多项成果荣获广东省市政行业协会优秀QC小组活动成果一等奖、二等奖,有效解决施工难题,为项目建设增添新助力。

▲混凝土架空砖设计图
接下来,市政集团二公司党委将进一步发挥临时党支部的战斗堡垒和党员先锋模范作用,以高质量党建引领企业高质量发展,勠力同心抢抓节点,让党员在实践中锤炼党性、让党旗在工地上高高飘扬,为促进项目履约、助推企业高质量发展输送源源不断的红色力量。
来源│市政集团 李文 彭小娟(文) 廖熠鹏(图)
编发│集团党群工作部 李钊雯 张晓琪
发布│集团办公室 张晓莹